Vertical Linear Stage, Precision Ball Bearing, 0.5 in. Travel, 8-32 & 1/4-20 Threads

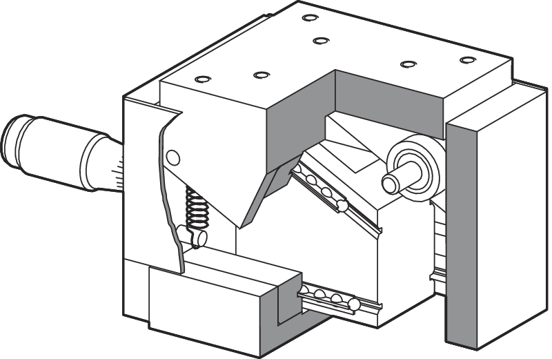
The MVN80 Precision Ball Bearing Vertical Linear Stage provides precise 0.5 inch manual height control with micron-scale sensitivity. Its high load capacity makes it especially suited to vertical positioning of heavy payloads. The stage utilizes an inclined plane design consisting of two precision-machined, opposing wedge blocks. Horizontal translation of the lower wedge is transformed into vertical motion of the upper wedge by means of inclined ball races. For linear, backlash-free travel, ball races are fabricated from precision-ground tool steel and are pre-loaded by a spring. A rotation of one division on the micrometer scale corresponds to a vertical displacement of half the linear displacement distance, thereby doubling the sensitivity. Manual positioning sensitivity can be approximately 50 nm using the DM series of differential micrometers. This stage has a large mounting platform that incorporates an array of tapped English mounting holes for the convenient attachment of components. Actuators are sold separately. Please note the Minimum and Maximum Height specs below include a 6-mm thickness of the M-PBN8 base plate which is sold separately.
Inclined for 2x Precision and Backlash Free Travel
The stage utilizes an inclined plane design consisting of two precision-machined, opposing wedge blocks. Horizontal translation of the lower wedge is transformed into vertical motion of the upper wedge by means of inclined ball races. This unique design enables a 2:1 mechanical advantage such that travel on the micrometer corresponds to half that value of the stage's vertical travel, improving the sensitivity by two times. For linear, backlash-free travel, ball races are fabricated from precision-ground tool steel and are pre-loaded by a spring.
Convenient Mounting
The MVN stages have large mounting platforms that incorporate an array of tapped English or metric mounting holes for the convenient attachment of components. To mount the stage to an optical table or breadboard, compatible PBN Series Base Plates are offered.
UMR Linear Stage Compatibility
The MVN stages are compatible with UMR Series Linear Stages allowing you to build XZ or XYZ stage stacks with a horizontal oriented mounting platform. An MVN50 verical stage is shown on top of UMR5.25 linear stage.
Resources & Downloads
2D Product Drawings
MVN-80-DWG-S(99.9 kB, PDF)
Related Products
Frequently Purchased Together
| Compare | Description | Drawings, CAD & Specs | Avail. | Price | ||
|---|---|---|---|---|---|---|
![]() | M-PBN8Base Plate, Used with UMR8 Series, MVN80 & UTR80 Series | In Stock FREE 2-day shipping on thousands of products on Newport.com Learn More | ||||
![]() | BM17.25Micrometer Head, Standard Resolution, 25 mm Travel, 23 lb. Load | In Stock FREE 2-day shipping on thousands of products on Newport.com Learn More | ||||
![]() | UMR8.25Linear Stage, Double-Row Ball Bearings, 0.98 in., 8-32 and 1/4-20 | In Stock FREE 2-day shipping on thousands of products on Newport.com Learn More | ||||
![]() | DM17-25Differential Micrometer Head, 25.1 mm Coarse, 0.1 mm Fine, 11 lb. Load | In Stock FREE 2-day shipping on thousands of products on Newport.com Learn More | ||||
![]() | SM-13Vernier Micrometer, 13 mm Travel, 9 lb. Load Capacity, 50.8 TPI | In Stock FREE 2-day shipping on thousands of products on Newport.com Learn More | ||||
![]() | RS65Manual Rotation Stage, Aperture , 2.65 in. Diameter, 10° Fine, 6-32 and 1/4-20 | 3 Weeks FREE 2-day shipping on thousands of products on Newport.com Learn More |
Similar
| Compare | Description | Drawings, CAD & Specs | Avail. | Price | ||
|---|---|---|---|---|---|---|
![]() | MVN50Vertical Linear Stage, Precision Ball Bearing, 0.31 in. Travel, 4-40 & 1/4-20 Threads | 3 Weeks FREE 2-day shipping on thousands of products on Newport.com Learn More | ||||
![]() | MVN120Vertical Linear Stage, Precision Ball Bearing, 0.79 in. Travel, 10-24 & 1/4-20 Threads | 5 Weeks FREE 2-day shipping on thousands of products on Newport.com Learn More | ||||
![]() | ECN-80Lab Jack, 80 mm Diameter Rotating Column, 106 to 166 mm Travel Range | In Stock FREE 2-day shipping on thousands of products on Newport.com Learn More |
Compatible
| Compare | Description | Drawings, CAD & Specs | Avail. | Price | ||
|---|---|---|---|---|---|---|
![]() | DM17-25Differential Micrometer Head, 25.1 mm Coarse, 0.1 mm Fine, 11 lb. Load | In Stock FREE 2-day shipping on thousands of products on Newport.com Learn More | ||||
![]() | BM17.25Micrometer Head, Standard Resolution, 25 mm Travel, 23 lb. Load | In Stock FREE 2-day shipping on thousands of products on Newport.com Learn More | ||||
![]() | LTA-HLMotorized Actuator, High Load, 25 mm travel, LTA, M12 thread | In Stock FREE 2-day shipping on thousands of products on Newport.com Learn More | ||||
![]() | M-PBN8Base Plate, Used with UMR8 Series, MVN80 & UTR80 Series | In Stock FREE 2-day shipping on thousands of products on Newport.com Learn More |
















